ここでは,対称三相交流の\( \ \mathrm {Y-Y} \ \)結線における線間電圧と相電圧の関係をベクトル図で算出します。
はじめに結論を述べると,線間電圧は相電圧の\( \ \sqrt{3} \ \)倍となるのですが,これを導きます。
Contents
対称三相交流とは
\( \ 3 \ \)つの単相交流電源からなる回路を三相交流回路といいます。
特にその\( \ 3 \ \)つが,同じ周波数・同じ電圧で、位相差が互いに\( \ \displaystyle \frac{2}{3}\pi \ \)である場合は,対称三相交流といいます。
\( \ \mathrm {Y-Y} \ \)結線とは
\( \ \mathrm {Y-Y} \ \)結線とは,図\( \ 1 \ \)のように電源も負荷も\( \ \mathrm {Y} \ \)結線の回路です。

電源電圧のことを相電圧といい\( \ E \ \)と表します。
線の間の電圧のことを線間電圧といい,\( \ V \ \)と表します。
たとえば赤の閉ループに注目すると,相電圧\( \ \dot{E_{\mathrm {a}}} \ \)と\( \ \dot{E_{\mathrm {b}}} \ \),線間電圧\( \ \dot{V_{\mathrm {ab}}} \ \)が含まれることが分かります(図\( \ 2 \ \))。

ここで,相電圧と線間電圧がどのような関係になるかを,ベクトル図を使って求めましょう。
※実をいうとこの関係式は三角関数⑧にて解説済みです。しかし,今回はさらに詳しく解説します。
相電圧と線間電圧の関係
赤の閉ループは,相電圧\( \ \dot{E_{\mathrm {a}}} \ \)と\( \ \dot{E_{\mathrm {b}}} \ \),線間電圧\( \ \dot{V_{\mathrm {ab}}} \ \)が含まれています。
つまりこの\( \ 3 \ \)つを足すと\( \ 0 \dots \ \)と言いたいところですが,符号に注意が必要です。
相電圧\( \ \dot{E_{\mathrm {a}}} \ \)は閉ループと同じ向きですからプラス,
相電圧\( \ \dot{E_{\mathrm {b}}} \ \)と線間電圧\( \ \dot{V_{\mathrm {ab}}} \ \)は閉ループと逆向きですからマイナスです(図\( \ 3 \ \))。

以上より,赤の閉ループについて,こちらの式が成立します。
\[
\begin{eqnarray}
\dot{E_{\mathrm {a}}}+(-\dot{E_{\mathrm {b}}})+(-\dot{V_{\mathrm {ab}}})=0\\[ 5pt ]
\end{eqnarray}
\]
そして今は,相電圧と線間電圧の関係を求めたいので,\( \ 線間電圧= \ \)の式に直します。
\[
\begin{eqnarray}
\dot{V_{\mathrm {ab}}}=\dot{E_{\mathrm {a}}}-\dot{E_{\mathrm {b}}}\\[ 5pt ]
\end{eqnarray}
\]
ということで,\( \ \dot{E_{\mathrm {a}}}-\dot{E_{\mathrm {b}}} \ \)をベクトル図を使って求めます。
相電圧どうしの大きさと位相差
①\( \ \dot{E_{\mathrm {a}}} \ \)と\( \ \dot{E_{\mathrm {b}}} \ \)を描きます。
対称三相交流ですから,大きさが同じで,位相差は\( \ \displaystyle \frac{2}{3}\pi \ \)です。
回路図からベクトル図を描くと図\( \ 4 \ \)となります。
\( \ \dot{E_{\mathrm {a}}} \ \)と\( \ \dot{E_{\mathrm {b}}} \ \)の大きさが同じになるように描いてください。

②このままでもいいのですが,基準ベクトルを決めて,右向きになるように回転させます。
例えば\( \ \dot{E_{\mathrm {a}}} \ \)を基準ベクトルと決めて,これが右向きになるように回転します(図\( \ 5 \ \))。
※ここは本当に好みなので,回転させなくても構いません。筆者としてはいつも基準を決めて右向きに描く方が,ベクトル図の取り扱いに慣れるのが早くなるように思います。

そして,計算したいのは\( \ \dot{E_{\mathrm {a}}}-\dot{E_{\mathrm {b}}} \ \)です。
ベクトルの引き算はマイナスの足し算に直して考えるのでしたね(ベクトル②)。
\[
\begin{eqnarray}
\dot{E_{\mathrm {a}}}-\dot{E_{\mathrm {b}}}=\dot{E_{\mathrm {a}}}+(-\dot{E_{\mathrm {b}}})\\[ 5pt ]
\end{eqnarray}
\]
③まずは\( \ -\dot{E_{\mathrm {b}}} \ \)を描きます。\( \ \dot{E_{\mathrm {b}}} \ \)の大きさはそのままで,向きを逆にしたものです(図\( \ 6 \ \)の③)。
\( \ \dot{E_{\mathrm {a}}} \ \)と\( \ -\dot{E_{\mathrm {b}}} \ \)のなす角は\( \ \displaystyle \frac{\pi}{3} \ \)となります。

④そして\( \ \dot{E_{\mathrm {a}}} \ \)と\( \ -\dot{E_{\mathrm {b}}} \ \)を足します。
平行四辺形の対角線でしたね(図\( \ 6 \ \)の④)。これが,線間電圧\( \ \dot{V_{\mathrm {ab}}} \ \)となります。
なお,今回は\( \ \dot{E_{\mathrm {a}}} \ \)と\( \ -\dot{E_{\mathrm {b}}} \ \)の大きさが同じですから,ひし形です。
\( \ \dot{V_\mathrm {ab}} \ \)が描けたので,この大きさを幾何的に求めます。
⑤⑥平行四辺形(特に今回の場合はひし形)は向かい合う辺が平行ですから,図\( \ 7 \ \)のように角度が分かります。

⑦ここからは,ひし形の半分の三角形に注目します(図\( \ 8 \ \)の⑦)。

\( \ \dot{E_{\mathrm {a}}} \ \)と\( \ -\dot{E_{\mathrm {b}}} \ \)が同じ大きさですから,二等辺三角形です。
ここで,二等辺三角形にはこのような性質があります。
“頂角の二等分線は、底辺を垂直に二等分する”
頂角というのは,同じ長さの\( \ 2\ \)辺に挟まれた角のことです。今回の場合は\( \ \displaystyle \frac{2}{3}\pi \ \)の角が頂角です。
⑧これの二等分線ですから,\( \ \displaystyle \frac{2}{3}\pi \ \)を\( \ \displaystyle \frac{\pi}{3} \ \)と\( \ \displaystyle \frac{\pi}{3} \ \)に分ける線です(図\( \ 8 \ \)の⑧の赤線)。
この赤線が,”底辺を垂直に二等分する”,つまり\( \ \dot{V_\mathrm {ab}} \ \)を垂直に二等分する,ということです。
⑨つまり,オレンジの三角形の半分,水色の三角形は特別角(\( \ \displaystyle \frac{\pi}{3} \ \))の直角三角形となります(図\( \ 9 \ \)の⑨)。

\( \ \displaystyle \frac{\pi}{3} \ \)の直角三角形では,辺の比が \( \ \displaystyle \frac{1}{2}:1:\displaystyle \frac{\sqrt{3}}{2} \ \)となります(三角比④)。
⑩つまり,\( \ \dot{E_{\mathrm {a}}} \ \)の大きさを\( \ 1 \ \)とすると,\( \ \dot{V_\mathrm {ab}} \ \)の大きさは,\( \ \displaystyle \frac{\sqrt{3}}{2} \ \)が\( \ 2 \ \)つ分,つまり\( \ \sqrt{3} \ \)です(図\( \ 9 \ \))。
⑪まとめると図\( \ 10 \ \)です。
\( \ \dot{E_{\mathrm {a}}} \ \)の大きさを\( \ 1 \ \)とすると,\( \ \dot{V_\mathrm {ab}} \ \)の大きさは\( \ \sqrt{3} \ \)です。

\[
\begin{eqnarray}
V_{\mathrm {ab}}=\sqrt{3} E_{\mathrm {a}}\\[ 5pt ]
\end{eqnarray}
\]
以上より,対称三相交流の\( \ \mathrm {Y-Y} \ \)結線における,線間電圧は相電圧の\( \ \sqrt{3} \ \)倍であることが導けました。
練習問題
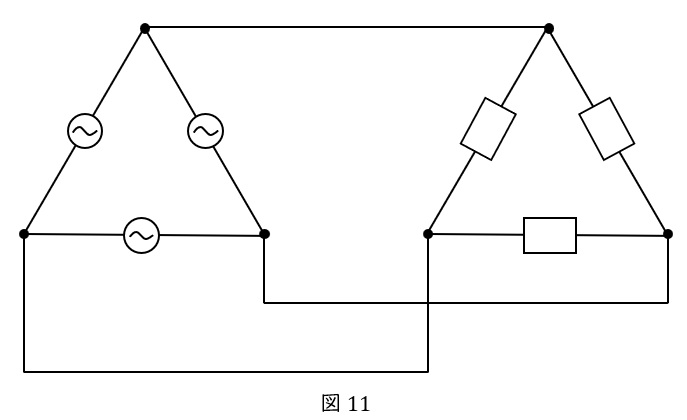
対称三相交流の\( \ \mathrm {\Delta-\Delta}\ \)結線における,線電流の大きさと相電流の大きさの関係を導きましょう。
\( \ \mathrm {\Delta-\Delta} \ \)結線とは,図\( \ 11 \ \)のように電源も負荷も\( \ \mathrm {\Delta} \ \)結線の回路です。

図\( \ 12 \ \)の電流のことを,線電流\( \ \dot{I_{\mathrm {a}}} \ \),相電流\( \ \dot{I_{\mathrm {ab}}} \ \),\( \ \dot{I_{\mathrm {ca}}} \ \)といいます。

図\( \ 13 \ \)の赤丸部分に注目すると,線電流\( \ \dot{I_{\mathrm {a}}} \ \)と相電流\( \ \dot{I_{\mathrm {ca}}} \ \)が流れ込み,相電流\( \ \dot{I_{\mathrm {ab}}} \ \)が出ていきます。

よって,以下の式が成立します。
\[
\begin{eqnarray}
\dot{I_{\mathrm {a}}}+\dot{I_{\mathrm {ca}}}=\dot{I_{\mathrm {ab}}}\\[ 5pt ]
\end{eqnarray}
\]
そして今は,線電流と相電流の関係を求めたいので,\( \ 線電流= \ \)の式に直します。
\[
\begin{eqnarray}
\dot{I_{\mathrm {a}}}=\dot{I_{\mathrm {ab}}}-\dot{I_{\mathrm {ca}}}\\[ 5pt ]
\end{eqnarray}
\]
ということで,\( \ \dot{I_{\mathrm {ab}}}-\dot{I_{\mathrm {ca}}} \ \)をベクトル図を使って求めます。
\( \ \dot{I_{\mathrm {ab}}} \ \)と\( \ \dot{I_{\mathrm {ca}}} \ \)を描きます。
①大きさが同じで,位相差は\( \ \displaystyle \frac{2}{3}\pi \ \)です(図\( \ 14 \ \))。

②このままでもいいのですが,基準ベクトルを決めて,右向きになるように回転させます。
例えば\( \ \dot{I_{\mathrm {ab}}} \ \)を基準ベクトルと決めて,これが右向きになるように回転します(図\( \ 15 \ \))。

そして,今計算したいのは\( \ \dot{I_{\mathrm {ab}}}-\dot{I_{\mathrm {ca}}} \ \)です。
ベクトルの引き算はマイナスの足し算に直して考えるのでしたね(ベクトル②)。
③まずは\( \ -\dot{I_{\mathrm {ca}}} \)を描きます。\( \ \dot{I_{\mathrm {ca}}} \ \)の大きさはそのままで,向きを逆にしたものです(図\( \ 16 \ \)の③)。
④\( \ \dot{I_{\mathrm {ab}}} \ \)と\( \ -\dot{I_{\mathrm {ca}}} \ \)のなす角は\( \ \displaystyle \frac{\pi}{3} \ \)となります。

そして\( \ \dot{I_{\mathrm {ab}}} \ \)と\( \ -\dot{I_{\mathrm {ca}}} \ \)を足します。
平行四辺形の対角線でしたね(図\( \ 16 \ \)の④)。これが,線電流\( \ \dot{I_{\mathrm {a}}} \ \)となります。
なお,今回は\( \ \dot{I_{\mathrm {ab}}} \ \)と\( \ -\dot{I_{\mathrm {ca}}} \ \)の大きさが同じですから,ひし形です。
線電流\( \ \dot{I_{\mathrm {a}}} \ \)が描けたので,この大きさを幾何的に求めます。
⑤⑥平行四辺形(特に今回の場合はひし形)は向かい合う辺が平行ですから,図\( \ 17 \ \)のように角度が分かります。

⑦ここからは,ひし形の半分の三角形に注目します(図\( \ 18 \ \))。
\( \ \dot{I_{\mathrm {ab}}} \ \)と\( \ -\dot{I_{\mathrm {ca}}} \ \)が同じ大きさですから,二等辺三角形です。

ここで,二等辺三角形にはこのような性質があります。
“頂角の二等分線は、底辺を垂直に二等分する”
頂角というのは,同じ長さの\( \ 2\ \)辺に挟まれた角のことです。今回の場合は\( \ \displaystyle \frac{2}{3}\pi \ \)の角が頂角です。
⑧これの二等分線ですから,\( \ \displaystyle \frac{2}{3}\pi \ \)を\( \ \displaystyle \frac{\pi}{3} \ \)と\( \ \displaystyle \frac{\pi}{3} \ \)に分ける線です(図\( \ 18 \ \))。
この赤線が,”底辺を垂直に二等分する”,つまり\( \ \dot{I_\mathrm {a}} \ \)を垂直に二等分する,ということです。
⑨つまり,オレンジの三角形の半分,水色の三角形は特別角(\( \ \displaystyle \frac{\pi}{3} \ \))の直角三角形となります(図\( \ 19 \ \))。

\( \ \displaystyle \frac{\pi}{3} \ \)の直角三角形では,辺の比が \( \ \displaystyle \frac{1}{2}:1:\displaystyle \frac{\sqrt{3}}{2} \ \)となります(三角比④)。
⑩つまり,\( \ \dot{I_{\mathrm {ab}}} \ \)の大きさを\( \ 1 \ \)とすると,\( \ \dot{I_\mathrm {a}} \ \)の大きさは,\( \ \displaystyle \frac{\sqrt{3}}{2} \ \)が\( \ 2 \ \)つ分,つまり\( \ \sqrt{3} \ \)です(図\( \ 19 \ \))。
⑪まとめると図\( \ 20 \ \)です。
\( \ \dot{I_{\mathrm {ab}}} \ \)の大きさを\( \ 1 \ \)とすると,\( \ \dot{I_\mathrm {a}} \ \)の大きさは\( \ \sqrt{3} \ \)です。

\[
\begin{eqnarray}
I_{\mathrm {a}}=\sqrt{3} I_{\mathrm {ab}}\\[ 5pt ]
\end{eqnarray}
\]
以上より,対称三相交流の\( \ \mathrm {\Delta-\Delta}\ \)結線における,線電流は相電流の\( \ \sqrt{3} \ \)倍であることが導けました。

